今天,闲暇无事,我去了苏宁电器,想看看各类产品一线销售的情况。基于市场的情况,我们接下来就选择吸油烟机作为目标产品,从TRIZ的角度看看如何进行改进。吸油烟机产品的改进是相对容易的,因为这个产品结构简单,综合的技术还比较少,很多子系统还处于发展的初级阶段。其实,在TRIZ的逻辑里是没有具体产品的,都是各个“子功能”组合起来的技术系统。因此,我们可以依据一个产品的逻辑去推演其他产品的发展。
1,看到了什么?
现在的卖场确实是“人迹罕至”,整个一层就我一个顾客。我看到某品牌的烟机还有促销人员在,就跟他们聊了聊。他们向我推荐了一款烟机。主要卖点:进气口油网可以拆卸并且易清洗。接下来就让我们具体看看这个产品体现了哪些技术进化原则,以及基于这些原则我们看到什么样的未来?该产品通过康恩达效应把烟移动到进气口,在进气口进行油烟的捕捉

进气口油网分两块,外部的油网较容易拆卸,便于清洗。内层的油网也可以拆卸并清洗,就是拆卸相对麻烦。如图2:

2,我想到了什么?
基于TRIZ方法观察产品的视角往往与单纯的产品设计有所不同。我就以一个TRIZ界的“小学生”来谈谈。其实其他产品也类似,大家可以根据同样的方法观察自己的产品。但是我事先声明,我不是一个吸油烟机行业的工作人员,因此,难免有错误,请行业专家指正!
进气口油网从其表现形式上讲,最明显的是按照“单、双、多”的路径进化的。正如我之前文章所写,我们应该找到表现形式背后的逻辑。在油网的演变过程中我看到以下几点:
2.1空气的行进路径在进化
原来的吸油烟机进气口油网是这样的,如图3:

油烟在通过这种进气口油网的过程中,线路是直线,而现在我们看到的进气口油网是两块栅型板交错安装的。通过这种安装,空气在通过进气口油网的过程中,空气的路径就由直线,变为了“S”形路径。这种转变有利于空气中的气溶胶沾在进气口油网上,从而提高离心风机的使用寿命。
这个方向的进化路线是什么呢?如图4:

目前的进化路径是第二阶段,即简单的曲线。下一代产品是什么?复杂的曲线?(当然并非图中这种无规则的曲线)在这个产品上,应该是利用其它效应(例如离心),使得产品更好完成其本质目的,即:油烟与空气的分离。请记住,这才是这个技术子系统真正的“功能”。
从上述分析中,我们可以得出这样一个矛盾,即:油烟的分离能力与空气通过的容易程度形成一对矛盾,这就是我们常说的“技术矛盾”,读者可以尝试利用TRIZ的四十个创新原理解决一下。
2.2“分离”才是背后最重要的功能。
在产品预测领域,笔者一直反对仅仅关注产品的变化形式,如:单、双、多,结构表现形式背后的功能才是最重要的。我们看到的这个进气口油网由一块钢板,变成了两块错落的钢板,本质上通过阻隔空气,进行油烟的分离。这种方法其实是一种比较笨的方法,最重要的是没有从本质上解决矛盾,没有提高效率。TRIZ的核心思想是不妥协的解决矛盾。
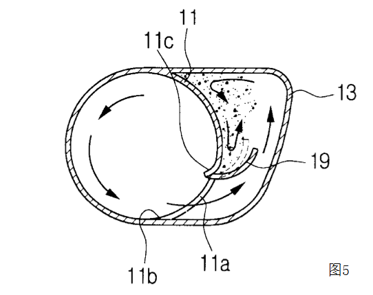
如果我们把视角从进气口油网的改进,变为如何高效的把清洁空气与油烟进行分离,那么我们的视角就会广阔得多!例如:在戴森吸尘器中就使用过很多利用离心进行烟尘分离的技术,如图5,详细可参见美国专利(专利号:6432154, Cyclone dust collecting apparatus for a vacuum cleaner, 08/13/2002)。像类似的方式还有很多:如涡流分离、惯性分离、甚至通过加电场进行分离。

到底有多少种方法呢?我说了不算,我们的专家团队对整个工业界进行了分析,气体与固、液分离的应用方法超过50种。我们完全可以利用其他领域更先进的方法来改进吸油烟机这个产品。
在这个方法论的指导下,我们应该先进行针对油烟与空气分离的技术进化分析,找到工业界解决同一问题的各种方法。在这个基础上,基于TRIZ分析哪些更高效率的方法适合应用到当前这个技术系统当中。基于这些基本的技术支撑才能设计出巧妙、领先和具有技术附加值的产品。
2.3清洁也是一个不可回避的方向
上述进气口油网,外层油网可以很容易的拆卸下来,就是为了更好的进行清洁和再利用。这是非常针对客户痛点的一个功能。而且现在油烟机的油网越来越多的和洗碗机结合,也是一个不容忽视的发展趋势。对于油污的收集和清洁这个话题,又是一个非常大的话题。
在这个产品中的油污的收集还处在“守株待兔”阶段,即通过油网被动的等待油烟的附着,而清洁方式还在使用最原始的“手工方式”,显然还处于进化的初级阶段。在这个主线的发展上同样有多条进化路径可以参阅。
笔者在《云米AirBot与S曲线的应用》一文中做过系统阐述,有兴趣的朋友可以翻阅。
笔者还要强调一下:每个子系统往往有多个需求共同影响。既要实现主功能,还要坚固多个次要功能,同时还要考虑成本和工艺的问题。每个功能又含有多个子进化路径,因此,每个子系统都可以形成一张网状的技术进化路线图。我们可以基于这样一张战略地图来指导产品的创新设计。这才是符合时代的,科学的创新方法!
2.4总结
在上述产品的进气口油网这个技术分支上,我们从TRIZ角度最明显的可以看出这些内容。如果深入分析,我们还可以进一步分析出更多的进化趋势。
如果我们对这个子系统进行深入的工作可以得到以下内容:
A, 进气口油网的技术进化图谱;
B, 基于上述图谱可以针对整个行业的竞品进行技术分析;
C, 针对战术预测结果设计符合技术趋势的“爆品”;
D, 针对整个技术趋势进行专利攻防,保护自己的主要技术路线,封堵竞争对手;
3,让我们用TRIZ改变产品!
在进气口油网的改进方面,我们有这样一个设想:希望与一个领先企业合作(吸油烟机行业排名前6,但仅限一家),针对进气口油网组织一次实战工坊,内容如下:
A, 导入TRIZ方法。(参与过基础培训的企业可省略)
B, 利用TRIZ方法共同分析吸油烟机进气口油网的进化路径,绘制该子系统的战略地图;
C, 针对支撑技术,如:油烟分离等进行“技术预测”,寻找可以用于吸油烟机产品的颠覆性技术;
D, 在专家团队辅导下,完成短、中、长期的进气口油网的概念设计,并选择有“爆品”潜力的方向;
E, 学习基于TRIZ的产品预测及设计方法论。
除了进气口油网这个主题以外,我们还有四个主题。如果有兴趣的朋友可以进一步沟通。我们对任何一个主题,都应用相同的方法论,得到的结果也基本相似。
我们就是要用TRIZ这种科学的方法导入到产品的概念设计当中。成功的导入后,我们将改变原有的产品设计方式,不再拘泥于某一款产品的竞争,而是从宏观上把握一个技术系统,使其成为企业未来独特的技术优势。如果把现有的产品设计方式比作“大刀、长矛”,那么这种基于TRIZ方法的新模式就是“飞机、大炮”!这是冷兵器与热兵器之间的区别。
我们期望与有识之士科学创新!共同实现战略竞争的构想!